Mores Pics | Update Everything

Data Validation Rules For Acord Documents Eureka Patsnap Develop

Data Validation Rules For Acord Documents Eureka Patsnap Develop

Data Validation Rules For Acord Documents Eureka Patsnap Develop. Discover ideas like: Verification Method And Device - Eureka | Patsnap, Banknote Validation -...
Find More About "Data Validation Rules For Acord Documents Eureka Patsnap Develop"

Explore exclusive offers, detailed information, and related services about data validation rules for acord documents eureka patsnap develop from our trusted partners.

View Special Offers

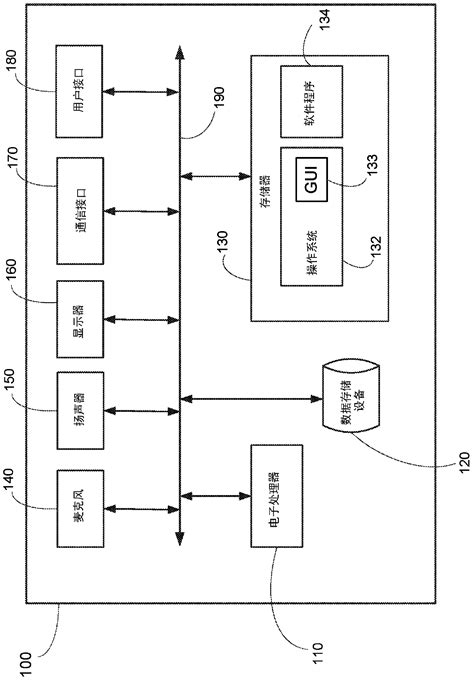
Resource control - Eureka | Patsnap

Resource control - Eureka | Patsnap

Source: images-eureka.patsnap.com

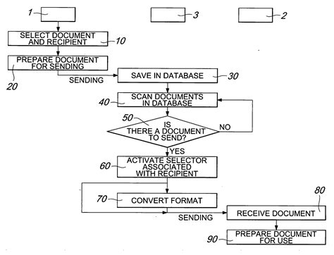
Banknote validation - Eureka | Patsnap

Banknote validation - Eureka | Patsnap

Source: images-eureka.patsnap.com

Data verification - Eureka | Patsnap

Data verification - Eureka | Patsnap

Source: images-eureka.patsnap.com

Information provision - Eureka | Patsnap

Information provision - Eureka | Patsnap

Source: images-eureka.patsnap.com

Electrical apparatus - Eureka | Patsnap

Electrical apparatus - Eureka | Patsnap

Source: images-eureka.patsnap.com